聚焦“设备保养”:圆资产的问题破解与全场景使用技巧
传统企业设备保养常面临“计划无序、执行低效、数据零散、异常难追溯”等痛点——依赖人工记录保养时间、纸质台账存档结果,易出现保养遗漏/重复、成本统计混乱、设备异常难以及时报修等问题,导致设备寿命缩短、管理成本高企。圆资产通过“全流程数字化管控+多端协同”,覆盖“计划创建-任务执行-结果审核-异常报修”闭环,精准解决传统保养痛点,以下为具体问题破解逻辑与实操技巧。
1
圆资产解决设备保养的核心问题
YUAN
zichan
传统设备保养的痛点集中在“计划乱、执行慢、数据散、成本糊”,圆资产通过五层设计针对性破解:
|
传统保养 痛点 |
圆资产 解决方案 |
核心价值 |
|
保养计划无序:人工制定计划易遗漏/重复,周期规则难落地 |
可视化计划创建+自动任务生成:支持设置“保养时间范围+重复规则”,自动生成任务,避免人工失误 |
计划准确率 100%,减少 90%计划调整时间 |
|
执行效率低:人工记录保养结果,纸质台账易丢失,多设备保养耗时 |
多端执行+数据实时同步:PC/移动端均可操作,保养结果自动关联资产档案,无需手动录入 |
单设备保养时间从 10 分钟缩短至 2 分钟,效率提升 80% |
|
数据不同步:保养结果与资产台账脱节,历史记录难追溯 |
全流程数据闭环:保养时间、花费、结果实时同步至资产库,支持导出报表,历史操作可查 |
数据一致性 100%,追溯效率提升 90% |
|
异常响应慢:发现设备问题需单独提报修,流程割裂 |
保养-报修联动:异常结果可直接发起报修,维修单与保养任务关联,无需切换模块 |
异常处理周期缩短 60%,减少设备停机时间 |
|
成本难管控:保养花费无记录,无法管控保养成本 |
成本精准记录:必填“保养花费金额”(保留 2 位小数),保养成本一目了然 |
保养成本记录效率提升 100%,便于预算优化 |
|
权限不清:保养人/审核人职责模糊,责任难追溯 |
角色权限细分:管理员负责计划创建/审核,员工仅执行名下设备保养,权责明确 |
责任追溯效率提升 100%,避免推诿扯皮 |
2
圆资产解决设备保养的核心问题
YUAN
zichan
圆资产支持 PC 端(管理员主导) 与移动端(全员协同) 操作,覆盖“计划创建-任务执行-结果审核-异常处理”全流程,以下分场景拆解实操要点:
(一)PC端技巧:管理员主导的保养全流程管控
管理员通过 PC 端完成保养计划创建、任务监控与结果审核,核心操作分三步:
1. 基础技巧:20分钟创建精准保养计划
保养计划是核心前提,需重点配置“基础信息、保养设备、保养项目、提醒规则”,避免因配置疏漏导致任务异常:
步骤 1:填充基础信息,明确保养范围与权责
进入圆资产 PC 端「设备管理-设备保养-保养计划」,点击【新增】,填写保养计划名称(必填且唯一,如“生产车间季度设备保养”);
选择计划保养时间(范围日期,如 2025-10-01~2025-10-07,需覆盖完整保养周期);
选择保养人员(可多选,从通讯录选人,如设备维护组全员)、保养审核人(单选,管理员角色,负责审核保养结果)。
步骤 2:添加保养设备,精准匹配资产
点击【添加设备】,复用系统“选资产”模块,筛选目标设备(可按资产分类、所在位置筛选,如“生产车间-机床”);
勾选设备后点击【确认】,已添加设备可通过【移除设备】删除;
支持查看设备“主附关系”(如主机与配件需同步保养,避免漏保附属设备)。
步骤 3:设置保养项目,明确操作标准
系统默认 1 个空白保养项目(不可删除),点击【添加】新增项目(如“设备润滑”“零件检查”);
填写保养项目名称(如“机床齿轮润滑”)和保养内容(多行文本,如“使用 3 号润滑油,润滑齿轮接触面,确保无异响”),确保保养人员明确操作要求。
步骤 4:配置提醒规则,避免漏保/超时
保养开始通知:默认开启,勾选“保养提醒规则”(如“到期前 3 天、1 天”),设置“提醒时间”(时分秒,如 08:00),确保保养人提前收到通知;
保养超时通知:默认开启,选择“通知人员”(如设备管理员、部门负责人),超时后系统自动发送钉钉消息;
点击【提交】,计划状态变为“进行中”,立即生成保养任务(任务名称规则:保养计划名称+年月日+3 位流水号,如“生产车间季度保养-20251001-001”)。
✅ 避坑技巧:保养时间范围需合理(避免过短导致无法完成);同一设备不可重复添加至同一计划;提醒规则至少选 1 项,避免保养人遗漏。

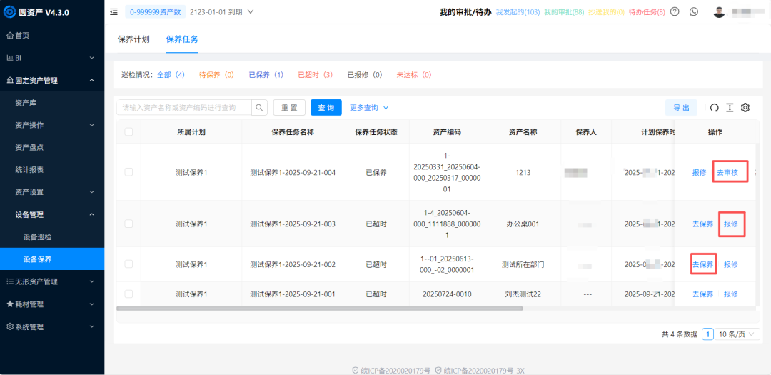
2. 进阶技巧:保养任务执行与审核
执行保养:记录关键信息
进入「设备保养-保养任务」,筛选“待保养”任务,点击【详情】进入设备列表;
选择待保养设备,点击【去保养】,填写弹窗信息:
实际保养时间:必填,选范围日期(如 2025-10-01~2025-10-01);
保养花费金额:必填,保留 2 位小数(如 150.50 元,无花费填 0.00);
保养详情:必填,多行文本(如“已完成齿轮润滑,无异常”);
保养照片:非必填,支持 webp/jpg/png 等格式,异常时建议上传佐证;
点击【提交】,任务状态变为“已保养”,操作栏变为【编辑 | 报修】(保养人视角)或【去审核 | 报修】(审核人视角)。

异常报修:联动维修流程
若保养中发现设备异常,点击【报修】:
系统校验设备状态:若已在“维修中”,提示“设备维修中,请勿重复报修”,自动关联已有维修单;
若未维修,弹出“资产维修”弹窗,填写报修原因后提交,保养任务状态变为“已报修”,操作栏显示【维修单号】,可实时查看维修进度。
审核结果:确保数据准确
审核人(管理员)进入任务详情,点击【去审核】:
审核通过:可修改“实际保养时间、花费金额、保养详情”,提交后覆盖原数据,任务状态保留“已保养”,操作栏变为【详情】;
审核拒绝:填写驳回原因(如“未记录保养花费”),点击【确认】,系统发送钉钉通知保养人,任务状态变为“没保好”,保养人需重新执行保养。

(二)移动端技巧:全员协同的高效保养操作
移动端适合现场保养场景,员工/管理员可随时随地执行保养,核心操作聚焦“便捷性”:
1. 基础技巧:接收通知与快速保养
接收任务通知:到保养时间/超时,系统发送钉钉消息(含计划名称、待保养设备数、时间范围),点击“去保养”直接进入任务页面。
执行保养:3 步完成
实际保养时间(选日期范围);
保养花费金额(手动输入,保留 2 位小数);
保养详情(简要描述,如“正常保养,无异常”);
可选上传保养照片;
进入钉钉「圆资产-设备保养」,选择“待保养”任务卡片,点击【详情】查看设备列表;
点击设备右侧“>”查看资产详情,点击【去保养】,填写:
点击【提交】,完成单设备保养,支持批量操作多设备。
2.进阶技巧:异常处理与状态查看
异常报修:保养结果为“异常”时,直接点击【报修】,无需切换模块,系统自动关联保养任务,管理员实时接收报修通知。
状态跟踪:在“保养任务”列表,可查看任务状态(待保养/已保养/已超时),点击【详情】可追溯保养时间、花费、审核结果,避免数据模糊。


(三)避坑与优化技巧
1
保养计划状态管理:“进行中”计划停用后,未完成任务会变为“已终止”,启用后需重新核对任务数据;已完成任务不受停用影响。
2
成本记录规范:保养花费金额需如实填写(如零件更换费、润滑油费),便于后续统计单设备/部门保养成本,支撑预算优化。
3
设备标签管理:保养设备需确保已贴资产标签(二维码/RFID),移动端可通过“扫一扫”直接识别设备,避免选错资产。
1
提醒规则适配:若保养周期长(如季度保养),提醒规则建议选“到期前 7 天、3 天”,预留准备时间;短期保养(如月度)选“到期前 3 天、1 天”即可。